Retención en la fuente
1) ¿Qué hace?[edit | edit source]
Configurar la retención en la fuente en las ventas o compras, que realice la empresa.
2) ¿En dónde está ubicada?[edit | edit source]
Se podrá acceder a esta funcionalidad en la siguiente opción:
- Ingresar al módulo de "Contabilidad".
- Ir a "Administración".
- Opción “Retención en la fuente”.
3) ¿Cómo se configura?[edit | edit source]
Configuración para retenciones[edit | edit source]
Configuraciones a tener en cuenta al momento de hacer retenciones, estas se encuentran en la siguiente ruta:
- Contabilidad
- Parámetros de control
- Pestaña general
- Retenciones definidas por grupo: Ver guia Retención por grupo
- Retenciones de notas crédito: Esta funcionalidad al marcarla permite al momento de hacer notas crédito tome las retenciones de la factura. Ver guia retenciones
- Compras: Esta opción al estar marcarcada permite practicar retención retefuente/reteica a terceros de responsabilidad 0-47 regímen simple
PARA VENTAS[edit | edit source]
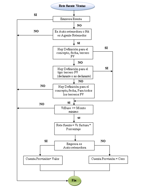
El funcionamiento del sistema en el momento de realizarse la retención en la fuente, en una venta realizada por la empresa se explica en el siguiente diagrama.
Para conocer si la empresa es auto-retenedora o no, se realiza mediante la configuración principal del programa, para esto se debe hacer lo siguiente:
- Dar doble clic al icono de Oceanic.
- El sistema le brinda una ventana, con la configuración principal del sistema y para el ingreso a cada modulo.
- En la parte superior de esta ventana, se presenta un botón con símbolo de Llaves y nombre “Manejo de Empresa”, dar clic a este botón mencionado.
- El sistema abre otra ventana.
- En la parte inferior de esta ventana, se puede encontrar la sección “Es Auto retenedor”
- Allí se puede evidenciar si la empresa es auto retenedora o no, o si es sin animo de lucro (Sin retenciones) o No identificado. Ver Ilustración 3 - "Configurar Empresa Auto retenedora"
NOTA: El estado: “No identificado”, tiene el mismo efecto que “Auto retenedor=NO”, para la retención en la fuente, en ventas.
Terceros clientes[edit | edit source]
Después de la configuración anterior, se debe verificar o configurar si el tercero es agente retenedor en las ventas de la empresa, o no, para esto debemos ir a la siguiente ruta:
- Ingresar al módulo "Comercial" o "Contable".
- Ir a "Tablas".
- Dar clic en la opción “Terceros”.
- Seleccionar el tercero.
- Dar clic en el botón “Modificar”.
El sistema brindará toda la información del tercero, incluyendo si es agente retenedor o no, en la retención en la fuente para ventas de la empresa. Así como se evidencia en la siguiente ilustración.
Ahora se explica los posibles casos en que se puede aplicar la retención en la fuente en ventas, ya que la empresa y el tercero pueden tener diferentes configuraciones.
A continuación se presenta la respuesta del sistema, en los posibles casos de retención en la fuente
| Estado del tercero(Cliente) | ||
|---|---|---|
| Estado de la empresa | Tercero SI es agente retenedor | Tercero NO es agente retenedor |
| -Empresa No auto retenedora
-No identificado |
- Resta de la cuenta por cobrar
- Débito por la cuenta de retención |
- No calcula |
| Empresa Si auto retenedora | - Débito por la cuenta retención
- Crédito por la cuenta provisión |
- Débito por la cuenta retención
- Crédito por la cuenta retención |
| Empresa exenta -Sin animo de lucro | - No calculo | - No calcula |
Después de conocer los posibles efectos según la configuración de la empresa y del tercero; procedemos a configurar el concepto que se creó para el patrón contable de la factura venta, allí en esta configuración se definirán las cuentas contables de Retención y Provisión. Además si se aplicará la retención en la fuente de las ventas para un tercero en particular o para cualquier tercero.
Para realizar esta configuración se debe ingresar en la ruta que se mencionó en el ítem 2 “¿En donde esta ubicada?”, del presente documento.
Como se evidencia en la anterior ilustración, después de ingresar en la opción de “Retención en la fuente”, se debe realizar lo siguiente:
- Dar clic en la pestaña “Ventas”
- Dar clic en el botón “Concepto”
- Seleccionar el concepto al cual se le registrará la configuración de la retención en la fuente. Se debe seleccionar el concepto del patrón contable, que maneja la factura de Venta.
- Dar clic en “Adicionar” o en “Modificar” en caso de que se desee cambiar la configuración del concepto.
- El sistema presentará la ventana que se muestra en la ilustración 6, para definir cuales serán las cuentas contables de retención y provisión; las cuales se manejan en el momento de aplicar retención en la fuente. También se debe definir si la retención en la fuente de las ventas, se aplicará para todos los terceros o solamente a un tercero en particular.
- Tercero: Si el tercero es cero, es por que se les aplicará la retención a todos los clientes, si se selecciona un tercero aplicara la retención solo para lo documentos que tengan ese tercero.
- Aplica a los terceros: Si se selecciona todos aplica a todos los terceros tanto declarantes como no declarantes, si se selecciona declarante aplica solo para los declarantes, si se aplica No declarantes aplica solo para los No declarantes, si selecciona persona natural solo aplicara para las personas que estén definidas como naturales. Este acción se le define al tercero en la pestaña de tributaria como se muestra en la pantalla de terceros.
- Cuenta retención: Se debe definir la cuenta contable que será la cuenta de retención.
- Cuenta provisión: Se debe definir la cuenta contable que será la cuenta de provisión.
- Monto mínimo: Definir el monto mínimo, para aplicar la retención en la fuente, en cualquier factura de venta.
- Porcentaje: Definir el porcentaje que se le aplicará al total o valor base de la factura y al cual se le registrará en las cuentas contables.
- Dar clic en Agregar o Modificar, para guardar la configuración realizada.
PARA COMPRAS[edit | edit source]
Se debe configurar o verificar si la empresa es agente retenedor en compras y si el cliente es auto retenedor o no en la compras que realice la empresa.
Para conocer si la empresa es agente retenedor o no, se realiza mediante la configuración principal del programa, para se debe hacer lo siguiente:
- Dar doble clic al icono de Oceanic
- El sistema le brinda una ventana, con la configuración principal del sistema y para el ingreso a cada modulo.
- En la parte superior de esta ventana, se presenta un botón con símbolo de Llaves y nombre “Manejo de Empresa”, dar clic a este botón mencionado.
- El sistema abre otra ventana.
- En la parte inferior de esta ventana, hay un sección que se llama “Es Agente Retenedor”
- Allí podemos evidenciar si la empresa es Agente Retenedor o no. Ver Ilustración 7 - "Configuración Empresa si es agente retenedor o no"
Después de la configuración anterior, se debe verificar o configurar si el tercero es agente retenedor en las compras que realice la empresa, o no, para esto debemos ir a la siguiente ruta:
Terceros Proveedor[edit | edit source]
- Ingresar al módulo "Comercial" o "Contable".
- Ir a Tablas.
- Dar clic en la opción “Terceros”.
- Seleccionar el tercero.
- Dar clic en el botón “Modificar”.
- El sistema brindará toda la información del tercero, incluyendo si es auto retenedor o no, en la retención en la fuente para ventas de la empresa. Así como se evidencia en la siguiente ilustración.
Se explica mediante la siguiente tabla, el funcionamiento del sistema en el momento de realizarse la retención en la fuente, en una compra realizada por la empresa.
Ahora se explica los posibles casos en que se puede aplicar la retención en la fuente en compras, ya que la empresa y el tercero pueden tener diferentes configuraciones.
A continuación se presenta la respuesta del sistema, en los posibles casos de retención en la fuente.
| Estado del tercero(Cliente) | |||
|---|---|---|---|
| Estado de la empresa | Tercero SI es auto retenedor | Tercero No es auto retenedor | Sin animo de lucro
(Exenta) |
| Empresa Si es agente auto retenedor | - No calcula | - Resta de la cuenta por pagar.
- Crédito por la cuenta de retención |
- No calcula |
| Empresa No es agente auto retenedor | - No calcula | - No calcula | - No calcula |
Después de conocer los posibles efectos según la configuración de la empresa y del tercero; procedemos a configurar el concepto que se creó para el patrón contable de la factura compra, allí en esta configuración se definirá la cuenta contable de Retención y si se aplicará la retención en la fuente de las compras para un tercero en particular o para todos los tercero.
Para realizar esta configuración se debe ingresar en la ruta que se mencionó en el ítem 2 “¿En donde esta ubicada?”, del presente documento.
Como se evidencia en la anterior ilustración, después de ingresar en la opción de “Retención en la fuente”, se debe realizar lo siguiente:
- Dar clic en la pestaña “Compras”.
- Dar clic en el botón “Concepto”.
- Seleccionar el concepto al cual se le registrará la configuración de la retención en la fuente. Se debe seleccionar el concepto del patrón contable, que maneja la factura de Compra.
- Dar clic en “Adicionar” o en “Modificar” en caso de que se desee cambiar la configuración del concepto.
- El sistema presentará la ventana que se muestra en la ilustración 10, para definir cual cuenta contable será la cuenta de retención; la cual se maneja en el momento de aplicar retención en la fuente para las compras de la empresa. También se debe definir si la retención en la fuente de las compras, se aplicará para todos los terceros o solamente a un tercero en particular
- Tercero: Si el tercero es cero, es por que se les aplicará la retención a todos los clientes, si se selecciona un tercero aplicara la retención solo para lo documentos que tengan ese tercero.
- Aplica a los terceros: Si se selecciona todos aplica a todos los terceros tanto declarantes como no declarantes, si se selecciona declarante aplica solo para los declarantes, si se aplica No declarantes aplica solo para los No declarantes. Este acción se le define al tercero en la pestaña de tributaria como se muestra en la pantalla de terceros.
- Cuenta retención: Se debe definir la cuenta contable que será la cuenta de retención.
- Monto mínimo: Definir el monto mínimo, para aplicar la retención en la fuente, en cualquier factura de venta.
- Porcentaje: Definir el porcentaje que se le aplicará al total o valor base de la factura y al cual se le registrará en las cuentas contables.
- Dar clic en Agregar o Modificar, para guardar la configuración realizada.
Nota: Para ReteIVA, (incluyendo la versión por grupos), se debe incluir el regímen al cual se le aplicará la retención, de lo contrario esta no tendrá efecto.
4) ¿En dónde tiene efecto?[edit | edit source]
PARA VENTAS[edit | edit source]
Tiene efecto en el modulo Comercial, en la factura de Venta, cuando procedemos a contabilizarla o Causarla.
A continuación se presentará un ejemplo de una factura venta con los posibles casos de retención en la fuente:
- Cuenta utilizada para retención: 13550503 – “Retención en la Fuente”
- Cuenta utilizada para provisión: 236590 – “Retención en la Fuente por Pagar”
- Monto mínimo, para aplicar la retención en la fuente: $30.000
- Porcentaje que se le aplicará al total o valor base de la factura: 2.5%
- Tercero: Todos
- Valor de la factura: $139.160
CASOS PARA APLICAR RETEFUENTE EN LA FACTURA DE VENTA[edit | edit source]
1- Empresa Auto retenedor: SI– Tercero Agente retenedor: SI
2- Empresa Auto retenedor: SI -Tercero Agente retenedor: NO
Pasa lo mismo en el ítem anterior, ver ilustración anterior.
3- Empresa Auto retenedor: NO o Empresa Auto retenedor “No identificado” - Agente retenedor: SI
4. Empresa Auto retenedor: NO o Empresa Auto retenedor “No identificado” y Agente retenedor: NO
5. Empresa “Sin animo de lucro”
- IMPORTANTE: En Caso de que se realice un factura de venta, que tenga una forma de pago a crédito, el sistema registrará la venta en las correspondientes cuentas contables pero agregándole el valor de la factura en la cartera del cliente, menos cuando la empresa NO es auto retenedor pero el Tercero Si es agente retenedor, allí se le agrega a la cartera del cliente, el valor del resultado, entre el total del factura menos la retención en la fuente aplicada.
NOTA: En caso de hacer una nota crédito a una factura de venta que tuvo alguna retención en la fuente, también se le aplica retención a la nota crédito independiente de que esta tenga o no alguna retención configurada.
PARA COMPRAS[edit | edit source]
Tiene efecto en el modulo Comercial, en la factura de Compra, cuando procedemos a contabilizarla o Causarla.
A continuación se presentará un ejemplo de una factura venta con los posibles casos de retención en la fuente:
- Cuenta utilizada para retención: 23654003 – “Compras general 2.5%”
- Monto mínimo, para aplicar la retención en la fuente: $40.000
- Porcentaje que se le aplicará al total o valor base de la factura: 2.5%
- Tercero: Todos
Valor de la factura: $ 130.401
CASOS PARA APLICAR RETEFUENTE EN LA FACTURA DE COMPRA[edit | edit source]
Para los siguiente casos (del 1 al 5), el sistema responde de la misma manera; únicamente registra el total de la factura en la cuenta por pagar y NO aplica retención en la fuente:
- Empresa Es Agente Retenedor SI– Tercero es Exento “Sin animo de Lucro”
- Empresa Es Agente Retenedor NO– Tercero es Exento “Sin animo de lucro”
- Empresa Es Agente Retenedor SI– Tercero es Auto retenedor: SI
- Empresa Es Agente Retenedor NO– Tercero es Auto retenedor: SI
- Empresa Es Agente Retenedor NO– Tercero es Auto retenedor: NO
6. Empresa Es Agente Retenedor SI– Tercero es Auto retenedor: NO
Este caso es el único caso en que el sistema aplica retención en la fuente de la empresa, y lo realiza restando de la cuenta por pagar, la retención en la fuente y en la cuenta de retención se registra el valor de esa retención que realiza la empresa.
IMPORTANTE[edit | edit source]
En Caso de que se realice un factura de compra, que tenga una forma de pago a crédito, el sistema registra la compra en las cuentas contables correspondientes pero agregándole el valor de la factura, en las cuentas por Pagar de la empresa; menos cuando la empresa es Agente retenedor pero el Tercero NO es auto retenedor, allí se le agregará en las cuentas por pagar de la empresa, el valor del resultado, entre el total del factura menos la retención en la fuente aplicada.
NOTAS:
1- Hay casos en los que se le aplica retención a un documento aún cuando este no tiene alguna retención configurada, estos casos son:
- Nota crédito a una factura de venta que tuvo retención.
- Documento creado a partir de otro el cual si tuvo retención, por ejemplo una factura de compra creada a partir de una liquidación de compra u orden de compra, en casos como este la retención se le aplica porcentualmente, es decir, si el documento original tuvo 4 productos y una retención de 100, al llevar 2 productos al otro documento estos generarán una retención de 50.
2- En caso de querer realizar retenciones desde los módulo de CXP o CXC, asegúrese que el patrón y el concepto sean iguales.











